专业自控阀门10载以上
工恒阀门[工匠精神][品质永恒]
联系方式
021-80392609
15601629388
您当前的位置: 主页 > 阀门标准 > 闸阀标准系列 >

闸阀标准系列

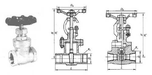
Z11H、Z11Y型PN25~PN160钢制内螺纹楔式闸阀

更新时间  2011-10-18 08:29 阅读

Z11H、Z11Y型PN25~PN160钢制内螺纹楔式闸阀外形尺寸图
 

主要性能参数

Z11H、Z11Y型PN25~PN160钢制内螺纹楔式闸阀主要性能参数
型号 PN 工作压力
/MPa
适用温度
/℃
适用介质 材料
阀体、阀盖、闸板 闸杆 密封面 填料
Z11H-25 25 2.5 ≤425 水、蒸汽、油品 碳素钢 铬不锈钢 铬不锈钢或碳
钢堆焊硬质合金
石棉石墨或
柔性石墨
Z11H-40 40 4.0
Z11H-63 63 6.3
Z11H-100 100 10 ≤450 锻钢 锻钢 铬不锈钢
Z11H-160 160 16
Z11Y-25 25 2.5 ≤425 水、蒸汽、油品 碳素钢 铬不锈钢 铬不锈钢或碳
钢堆焊硬质合金
石棉石墨或
柔性石墨
Z11Y-40 40 4.0
Z11Y-63 63 6.3
Z11Y-100 100 10
Z11Y-160 160 16
Z11Y-25I 25 2.5 ≤550
蒸汽、油品
铬钼钢 耐热钢或
铬不锈钢
铬钼钢堆焊
硬质合金
石棉石墨或
柔性石墨
Z11Y-40I 40 4.0
Z11Y-63I 63 6.3
Z11Y-25P 25 2.5 ≤150 弱腐蚀性介质 铬镍钛不锈钢 铬镍钛
不锈钢
铬镍钛钢堆焊
硬质合金
石棉石墨或
聚四氟
Z11Y-40P 40 4.0
Z11Y-63P 63 6.3
Z11Y-100P 100 10
Z11Y-160P 160 16

主要外形及结构尺寸

Z11H型 PN25~PN63钢制内螺纹楔式闸阀外形及结构尺寸(mm)
DN/mm RC/in L D H H1 D0 重量/kg
15 RC 1/2 90 34 208 229 120 3.5
20 RC 3/4 100 44 244 244 140 5.7
25 RC 1 110 48 261 261 160 6.9
32 RC 1 1/4 120 56 270 270 160 8.5
40 RC 1 1/2 135 64 304 304 200 12.3
50 RC 2 155 75 318 318 240 30