专业自控阀门10载以上
工恒阀门[工匠精神][品质永恒]
联系方式
021-80392609
15601629388
您当前的位置: 主页 > 产品展示 > 调节阀

调节阀

ZJSW气动薄膜微小流量调节阀
ZJSW气动薄膜微小流量调节阀
产品型号:ZJSW
口径(DN):20~300(mm)
压力(PN):1.6~10.0Mpa
产品价格: 电议
在线咨询
  • 产品详情

    产品概述

    ZJSW气动薄膜微小流量调节阀是专门针对小流量调节而 开发的小口径调节阀。它具有体积小、重量轻、性能高、用于微小流量的精确控制等特点。调节不干净介质时,应针对 其节流间隙小的问题,注意预防堵卡现象的发生。它适用于 液体、蒸汽等介质的注流量调节场合。
    本系列调节阀采用模块化设计,可采用不同组合、配用 各种附件。

    主要零部件参数

    ZJSW气动薄膜微小流量调节阀主要零部件参数
    本体部分
    阀体形式 直通锻造阀体
    阀体材质 20#  F22  304  316
    公称通径 DN15~DN20
    公称压力 PN1.6  4.0  10.0  16.0  20.0  32.0MPa
    ANSI  150  300  600  900  1500LB 
    连接形式 法兰:FF RF RTJ 等
    螺纹:NPT 焊接:SW  BW
    结构长度 符合 IEC534
    阀盖形式 一体式
    填料 聚四氟乙烯 柔性石墨等
    密封垫 金属夹石墨密封垫 四氟乙烯垫等
    阀内部件
    阀芯型式 单座柱塞式
    流量特性 等百分比、线性
    内件材质 标准材质组合及使用温度、压力请 参阅附表
    执行机构
    气动 气动薄膜多弹簧执行机构
    单作用 气—开(弹簧复位)
    双作用 气—开/气—关

    主要技术参数

    ZJSW气动薄膜微小流量调节阀主要技术参数
    公称通径(mm) G1/2" G3/4"
    阀座直径(mm) 1.5 3 4 5 6 7 8 9
    流量系数 Kv 0.0025 0.08 0.12 0.2 0.32 0.5 0.8 1
    可调范围 30:01:00
    公称压力 标准产品 1.6 4.0 6.4、10MPa
    阀芯形式 单座柱塞型阀芯
    流量特性 直线
    作用形式 气开式、气关式
    工作温度 普通型-40~230℃,散热片型 230~450℃,特殊订货 450~600℃
    法兰标准 符合 JB78-59、JB79-59 标准,可按 JB/79.1-94、JB/79.2-94、ANSI、JIS、DIN 等标准订货
    执行机构 ZHA/B 型多弹簧气动薄膜执行机构
    可配附件 定位器、电磁阀、空气过滤减压阀、限位开关、阀位反馈器、紧急作装置、手轮机构等
    注: 工作温度、公称压力、公称通径超出列表范围的产品可与本公司商洽解决。 *注量系数<0.08 需特殊订货。

    主要性能指标

    ZJSW气动薄膜微小流量调节阀主要性能指标
    泄漏率 Ⅵ 级, 小于额定流量的 10-4
    回差 不带定位器, 小于全行程的 3%; 带定位器, 小于全行程的 1%
    基本误差 不带定位器, 小于全行程的±5%; 带定位器, 小于全行程的±1%
    死区 不带定位器 , 小于全行程的 3%; 带定位器, 小于全行程的 1%注:测试使用填料为聚四氟乙烯填料。

    允许压差

    ZJSW气动薄膜微小流量调节阀允许压差
    执行机构 ZHA(B)-11
    行程(mm) 10
    有效面积(cm3) 200
    气源接口尺寸 M16×1.5
    公称通径(mm) G1/2" G3/4"
    阀座直径(mm) 1.5 3 4 5 6 7 8 9
    允许压差△P(MPa) 6.4 5.2 4.6
    注:(1)ZHA:正作用执行机构 ;ZHB 反作用执行机构。

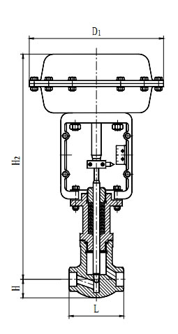
    外形结构尺寸

    ZJSW气动薄膜微小流量调节阀外形结构尺寸 单位(mm)
    公通通径(mm) G1/2" G3/4"
    连接长度 L(mm) 92 92
    高度 H(mm) 30 30
    H2(mm) 330 330
    D1(mm) 230 230

    产品外形结构尺寸图

    ZJSW气动薄膜微小流量调节阀外形结构尺寸图

    注:本公司是上海调节阀厂家,的调节阀种类有电动调节阀,气动调节阀,手动调节阀,流量调节阀,温度调节阀,风量调节阀压力调节阀,自力式调节阀等,工程师皆有数十年经验,欢迎您来电洽谈业务!
    声明:本文中所有文字、数据、图片均只适用于参考,ZJSW气动薄膜微小流量调节阀性能参数、结构尺寸参数、价格等详情,请联系我们,电话:021-80392609。