专业自控阀门10载以上
工恒阀门[工匠精神][品质永恒]
联系方式
021-80392609
15601629388
您当前的位置: 主页 > 产品展示 > 管夹阀

管夹阀

GJ41X型衬胶铸铁管夹阀
GJ41X型衬胶铸铁管夹阀
产品型号:GJ41X
口径(DN):20~200(mm)
压力(PN):0.3~1.6Mpa
产品价格: 电议
在线咨询
  • 产品详情

    产品概述

    GJ41X型衬胶铸铁管夹阀适用内外受酸浸蚀的环境下,保持正常工作。杜绝内泄外漏,方便清槽工作,实践证明,它取代了不锈钢夹子,结束了采用球阀旋塞阀或其它阀门历史。管夹阀又名夹管阀,胶管阀,由左右阀体,橡胶管套、大小阀杆、上下闸板、导柱等零件组成。管夹阀有铸铁和铝合金两种材质,驱动方式有手动、气动、电动等多种方式,也可按客户需求定制非标产品。

    管夹阀工作原理

    当顺转手轮时,使大小阀杆同时带动上下闸板,压缩管套,进行关闭,反转即行开启,这样,闸板在导柱之间上下往复完成阀门开闭工作。另外,因橡胶管套承力,因此在开关时,操作人员旋转手轮时只要感到适量抵触,均己达到开闭极点,切勿尽力或多人辅助,禁用其他工具开闭。

    管夹阀安装及维修

    1.本阀门管夹阀尺寸符合机械工业部标准,出厂前经过试验, 按规定10Kg/cm2持续5分钟无泄漏,安装时不必拆洗调整更动。
    2.本阀在管道上任意安装,没有介质流向限制,久时使用,如有磨损或泄漏只需将阀体拆下,调换新管套,其阀体可长期使用,经济实惠。

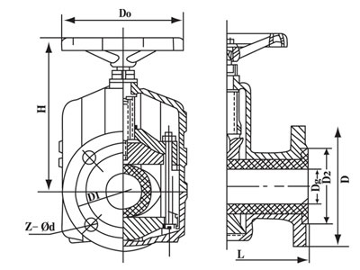
    产品外形结构尺寸

    GJ41X型衬胶铸铁管夹阀外形结构尺寸
    公称通径 铸铁管夹阀主要连接尺寸及外型尺寸 重量KG
    L D D1 D2 b Z-φ
    20 135 105 75 55 16 4-14 2.5
    25 145 115 85 65 16 4-14 3
    32 160 135 100 78 18 4-18 4
    40 180 145 110 85 18 4-18 6
    50 210 165 125 100 20 4-18 7.5
    65 250 185 145 120 20 4-18 9.5
    80 300 190 160 135 22 4-18 16
    100 350 215 180 155 22 8-18 20
    125 430 245 210 185 25 8-18 28
    150 500 280 240 210 25 8-23 43
    200 650 335 295 265 32 8-23 80


    产品外形结构尺寸图

    GJ41X型衬胶铸铁管夹阀外形结构尺寸图


    声明:本文中所有文字、数据、图片均只适用于参考,GJ41X型衬胶铸铁管夹阀性能参数、结构尺寸参数、价格等详情,请联系我们,电话:021-80392609。